S3F80P5XZZ 三星/IXYS单片机
产品介绍
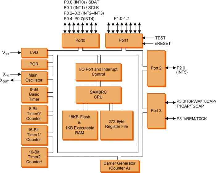
Zilog’s S3F8 Series of 8-bit single-chip microcontrollers offers a fast and efficient CPU, a wide range of integrated peripherals, and multiple Flash memory sizes.
Important CPU features include:
? Efficient register-oriented architecture
? Selectable CPU clock sources
? Idle and Stop power-down mode release by interrupts
? Built-in basic timer with watchdog function A sophisticated interrupt structure recognizes up to eight interrupt levels.
Each level can contain one or more interrupt sources and vectors. Fast interrupt processing (within a minimum of four CPU clocks) can be assigned to specific interrupt levels.
The S3F80P5 MCU features 18 KB of Flash ROM. Using a proven modular design approach, the S3F80P5 MCU was developed by integrating the following peripheral modules with the SAM88 core:
? Internal LVD circuit and 9 bit-programmable pins for external interrupts
? One 8-bit basic timer for oscillation stabilization and watchdog function (system reset)
? One 8-bit Timer/counter with three operating modes
? Two 16-bit timer/counters with selectable operating modes
? One 8-bit counter with auto-reload function and one-shot or repeat control The S3F80P5 MCU is a versatile general-purpose microcontroller that is especially suitable for use in applications requiring remote-control transmission.
The S3F80P5 MCU is available in the 24-pin SOP and 24-pin QFN packages.
封装代号
Features
Package - Pellet (Die)
I/O - 19
Interrupts - 16
Timers - BT, (1) 8-Bit, (2) 16-Bit
Speed (MHz) - 8
Operating Voltage - 1.6V - 3.6V
Other Features - WDT, CFG, VLR, LVD
RAM (bytes) - 1296
Program Memory - 18 KB flash
Features
Package - 24-Pin ELP
I/O - 19
Interrupts - 16
Timers - BT, (1) 8-Bit, (2) 16-Bit
Speed (MHz) - 8
Operating Voltage - 1.6V - 3.6V
Other Features - WDT, CFG, VLR, LVD
RAM (bytes) - 1296
Program Memory - 18 KB flash
Features
Package - 24-Pin SOP
I/O - 19
Interrupts - 16
Timers - BT, (1) 8-Bit, (2) 16-Bit
Speed (MHz) - 8
Operating Voltage - 1.6V - 3.6V
Other Features - WDT, CFG, VLR, LVD
RAM (bytes) - 1296
Program Memory - 18 KB flash




